GNSS天线高度测量
本主题将介绍当 测量到 域设置到 天线底部 或 天线安装底部 时如何测量安装在测杆上的天线高度。对于固定高度的测杆来说,此高度是个常数值。
使用 IMU 倾斜补偿测量或测量点时,请确保输入的天线高度和测量方法正确。对准可靠性和测杆末端位置可靠性,特别是在测杆末端静止时天线的移动过程中,完全取决于天线的高度是否正确。在测量点后,无法通过改变天线高度来消除在测量测杆末端静止时由于天线运动而导致的水平位置残差误差。
请参考下图,其中:(1)是接收机,(2)是天线安装架底部,(3)是快速拆卸件底部,(4)是从测杆底部到 APC 的修正高度。
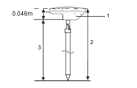
下面说明当接收机安装在三脚架上时如何用接收机延伸杆测量接收机的高度。
请参考下图,其中:(1)是接收机,(2)是 延伸杆,(3)是从地面标记到 APC 的修正高度,(4)是未修正的高度。
请参考下图,其中:(1)是接收机,(2)是天线安装架底部,(3)是快速拆卸件底部,(4)是从测杆底部到 APC 的修正高度。
下面说明当接收机安装在三脚架上时如何用接收机延伸杆测量接收机的高度。
请参考下图,其中:(1)是接收机,(2)是 延伸杆,(3)是从地面标记到 APC 的修正高度,(4)是未修正的高度。
下图中,(1)是 Trimble GNSS 接收机,(2)是到 APC 的改正高度,(3)是 1.80 米未改正高度。
如果此接收机安装在三脚架上,则应测量到槽口底部的高度(槽口位于天线灰色底座与白色顶部之间),然后在 测量到 域中选择 护圈的中心。
如果使用的是高度固定的三脚架,则可以测量到天线外壳底部的高度,然后在 测量到 域中选择 天线安装底部。
下图中,(1)是 Zephyr 天线,(2)是到 APC 的改正高度,(3)是未改正高度。
如果此天线安装在三脚架上,则应测量到天线侧面槽口顶部的高度。
如果此天线安装在三脚架上,则应测量到天线侧面槽口底部的高度。
下图中,(1)是 Tornado 天线,(2)是到 APC 的改正高度,(3)是未改正高度。
如果此天线安装在三脚架上,则应测量天线灰色塑料与白色塑料结合处的高度。
下图中,(1)是微中心天线,(2)是到 APC 的改正高度,(3)是未改正高度。
如果此天线安装在三脚架上,则应测量到塑料外壳底部的高度。在 天线高度 域中输入此值,并把 测量到 域设置到 天线底部。
如果微中心天线 (或 L1/L2 压缩天线) 带抑径板,应测量到抑径板槽口的下侧。
下图中,(1)是微中心 L1/L2 天线,(2)是抑径板,(3)是槽口下侧,(4)是槽口的上侧。
测量到抑径板外围的三个不同槽口下侧的高度。然后记录平均值,它将作为未改正的天线高度。